Göz içi lens ameliyatlarının halk arasında Lens Değiştirme, Lens Cerrahisi, Refraktif Lens Değişimi (RLE Cerrahisi), Şeffaf Lens Değişimi, presbiyopik lens değiştirme ...

Katarakt ameliyatı, bulanık bir lensi çıkarmak ve yerine yapay bir lens koymak için gözlerinize yapılan ameliyattır. Yapay merceğe göz içi merceği veya kısaca GİL denir. Göz içi lensi genellikle görüşünüzü önemli ölçüde iyileştirecektir. Bununla birlikte, göz içi lensler özellikleri ve amaçları bakımından farklılık gösterir. Bazıları yakını daha net görmenize yardımcı olurken bazıları uzağı daha net görmenizi sağlar. Doğru lensi seçmek biraz kafa karıştırıcı olabilir. Bu konuda göz hekiminiz sizi gerekli şekilde bilgilendirecektir. İşte lens seçerken göz önünde bulundurabileceğiniz bazı gerçekler ve fikirler.
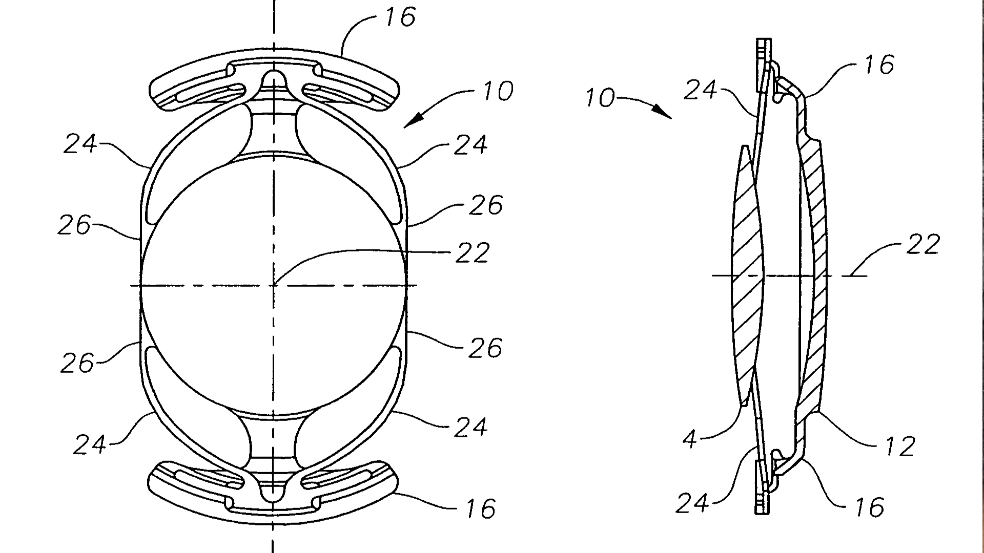
Katarakt Cerrahisi Hastaları İçin
Hangi Lensler Mevcuttur?
EDOF veya Genişletilmiş Odak
Derinliği GİL’leri
Bu camlar tek bir düzeltici bölgeye sahiptir. Monofokal lens olarak tanımlanan bu
lensler, orta ve uzak görüş sağlamak için geliştirilmiştir.
Multifokal GİL’ler
Bu lensler, lensin içine tasarlanmış farklı görüş düzeltici bölgelere sahiptir.
Trifokal veya bifokal gözlüklerle aynı şekilde çalışırlar. Hem uzaktaki hem de yakındaki
nesneleri görmenizi sağlarlar. Ayrıca bazı multifokal lensler ara mesafe görüşü de
düzeltebilir.
Monofokal Lensler
Bu lensler tek bir mesafede optimum görüş sağlar. Monofokal lensler esas olarak uzak
görüş isteyen kişiler içindir. Bununla birlikte sadece uzak mesafe netleme için
geliştirilmiş bir lens implante edilmiş ise, ameliyat sonrasında yakın görüş gerektiren
görevler için okuma gözlüklerine ihtiyacınız olacaktır.
Torik Lensler
Bu lensler özellikle astigmatı olan kişiler içindir. Astigmatizma için biraz daha
fazla düzeltme vardır.
Akomodatif Lensler
Bu lensler tüm mesafelerde görüşü düzeltir.
Multifokal, akomodatif ve EDOF GİL’ler birinci sınıf GİL’lerdir. Gözlük ve kontakt lens ihtiyacını azaltırlar. Bununla birlikte, yakın görme görevlerini yerine getirme yeteneği hastalara göre değişir. Bu premium GİL’ler standart GİL’lerden daha pahalıdır ve sigortalar genellikle bu lenslerin ücretini tamamen karşılamaz.
Yaşam tarzı
Yaşam tarzınız, seçeceğiniz göz içi lenslerin türünü belirleyecektir. Bilgisayarda
çalışmak gibi yakın görüş gerektiren işleri yapmak için çok zaman harcıyor
olabilirsiniz. herhangi bir aparat kullanmadan okumayı da tercih edebilirsiniz. Yaşam
tarzınız buysa, monofokal lensleri tercih etmelisiniz.
Ne Sıklıkta Gece Araç
Kullanıyorsunuz?
Sık sık gece araba kullanıyorsanız EDOF veya multifokal lenslerden kaçınmak
isteyeceksiniz. Bu lenslerin bir yan etkisi olarak parlama ve haleler vardır. Ayrıca,
özellikle geceleri zayıf ışıkta kontrast kaybına neden olabilirler.
Astigmatınız Var mı?
Astigmatınız varsa torik GİL’ler genellikle tercih edilen seçenektir. Doktorunuz
astigmatizmayı azaltmak için limbal gevşetici insizyon (LRI) prosedürü de önerebilir. Bu
prosedür katarakt ameliyatınızla birlikte uygulanabilir; ancak sigortalar LRI’leri veya
torik lensleri karşılamaz.

1993 yılında Ege Üniversitesi Tıp Fakültesinden tıp doktoru ünvanı ile mezun
olmuştur. 1999 yılında Süleyman Demirel Üniversitesi Göz Hastalıkları Bilim
Dalı’nda “Göz hastalıkları ve cerrahisi” ihtisasını (uzmanlığını) tamamlamıştır.
2000-2005 yılları arasında Central Hospital’de çalışan Hayati Türker
“Katarakt Cerrahisi” başta olmak üzere göz hastalıklarının teşhis ve tedavisinde
branşlaşmıstır.
OP. DR. Nami Torunoğlu
Göz içi lens ameliyatlarının halk arasında Lens Değiştirme, Lens Cerrahisi, Refraktif Lens Değişimi (RLE Cerrahisi), Şeffaf Lens Değişimi, presbiyopik lens değiştirme ...
OP. DR. Filiz Akyol
LASIK göz ameliyatından Korkuyor ve kaçınıyorsanız, bunun nedeni, “LASIK ameliyatı canımı acıtır mı?” sorusuna kafa yoran milyonlarca insandan biri olmanızdır ...
OP. DR. Beyza Tekin Altınbay
Katarakt ameliyatı veya lens değiştirme ameliyatı, göz merceğinde opaklaşma (katarakt) olduğunda gözün doğal merceğinin çıkarılmasıdır. Bu günlerde ...